More

    News : Suzuki files new patent for its upcoming GSX-R1000R

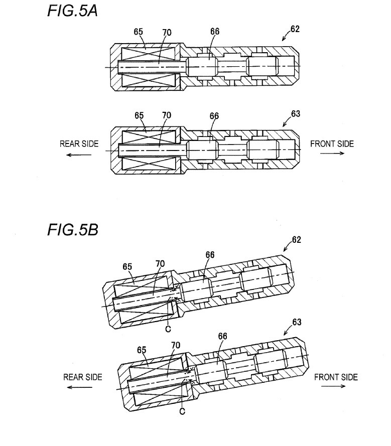
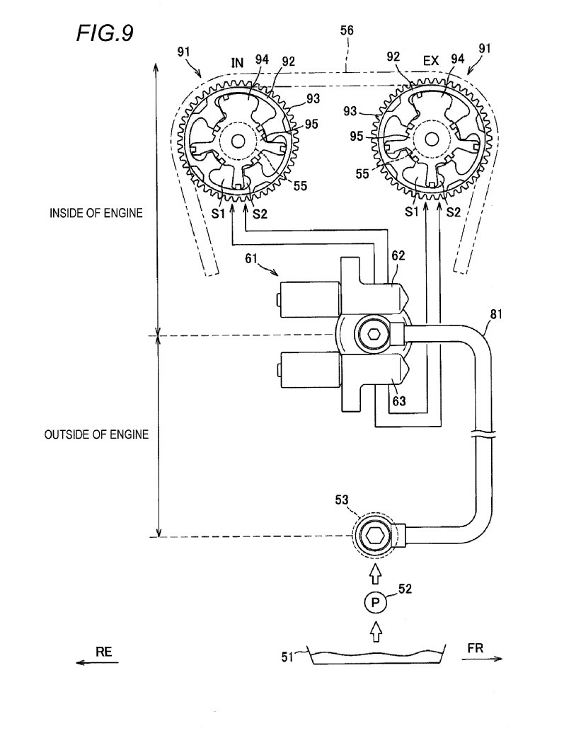
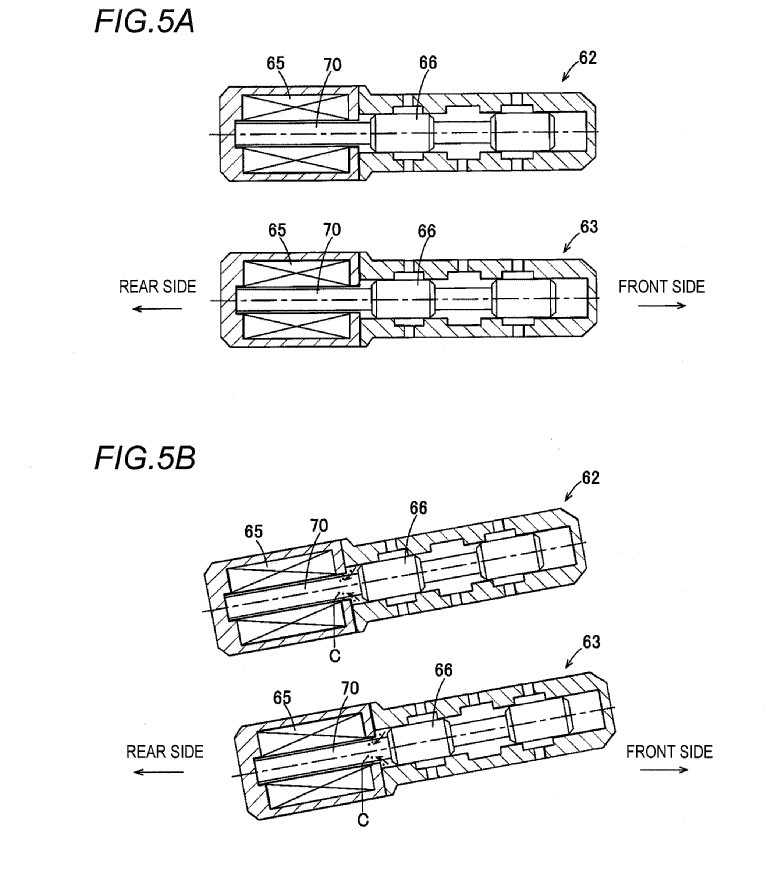
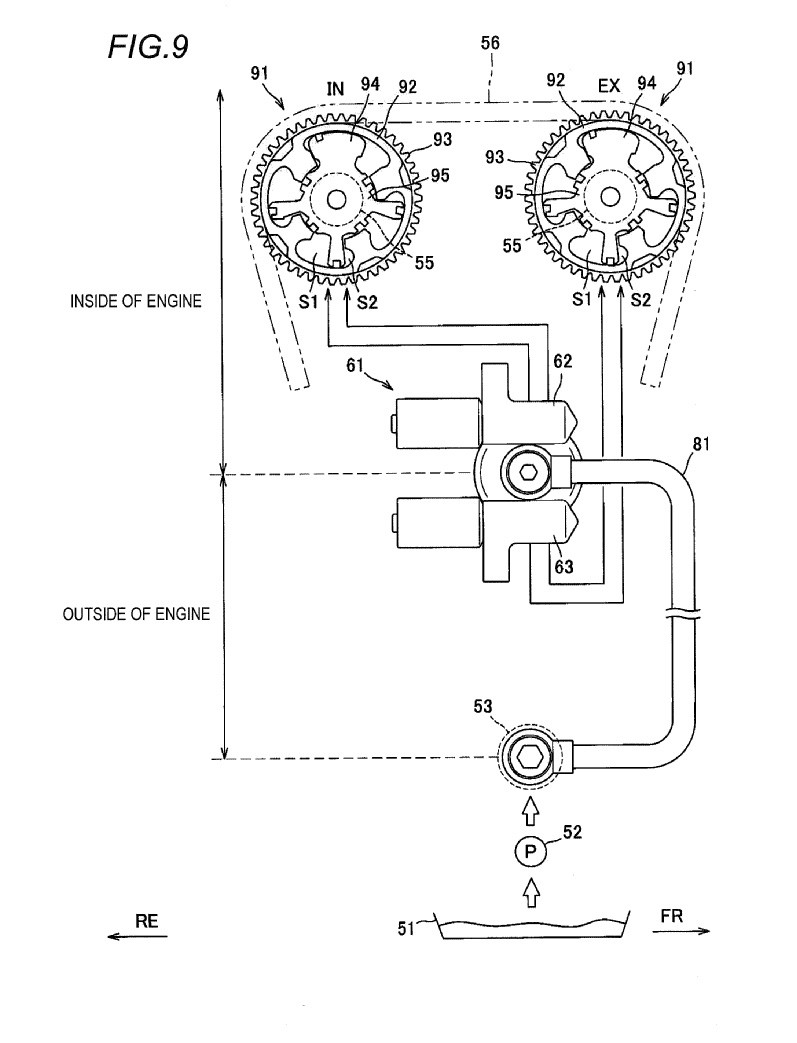
    The patent was introduced before , but it is a patent of GSX-R1000R . The engine looks like that of GSX-R1000R. It has both variable valve mechanism of intake and exhaust. 

    This is a completely different system from the current GSX-R1000R’s SR-VVT. I think it was released around January 2019 or late 2018. 

    The earlier patent “Provides an intake system of an internal combustion engine capable of strengthening the connection between a plurality of members having an intake passage to improve the rigidity of the throttle body and thus to stabilize the opening degree of the throttle body.”


    Source : Google Patent

    0 0 votes
    Article Rating

    Editor's Picks

    More article

    Subscribe
    Notify of
    guest
    0 Comments
    oldest
    newest most voted
    Inline Feedbacks
    View all comments

    Top Discussions

    - Advertisement -Newspaper WordPress Theme
    0
    Would love your thoughts, please comment.x
    ()
    x