More

    News : Suzukis patent for GSX – R250

    Although the figure is GSX – R250, it seems to be a patent of a system not related to a commercial model. After all Suzuki has changed.

    It plans to give a vehicle structure of a bike fit for extending the swing arm while shortening the wheel base.

    It is documented in July 2017.

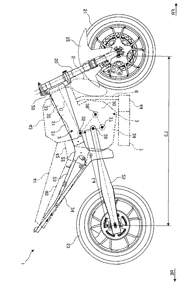
    • 6: Exhaust
    • 7: Silencer
    • 30: Crankcase
    • 32: Cylinder head
    • 33: Cylinder head spread
    • 34: Oil dish
    • 43: Air more clean

    Objective of this Suzukis patent : “The motorcycle (1) has a crankshaft (35) extending in the left-right direction, a main shaft (36) extending in the same direction as the crankshaft and transmitting the rotation of the crankshaft, a main shaft extending in the same direction as the crankshaft, A drive shaft (37) for transmitting rotation, and a pivot shaft (38) extending in the same direction as the crank shaft so as to swingably support the swing arm, the main shaft being disposed in front of and below the crankshaft, The drive shaft is disposed below the crankshaft and behind the main shaft, and the pivot shaft is disposed inside a triangle connecting centers of the crankshaft, the main shaft, and the drive shaft in a side view”

    This patent, the motor is an abnormal way … Here is an assume of Suzukis patent that is upset and pivoted, yet regularly you are on the motor with this introduction. In addition, it is uncommon (presently it is about 310R) in reverse exhaust as of now.

     

     


    Source : Kojenti

    0 0 votes
    Article Rating

    Editor's Picks

    More article

    Subscribe
    Notify of
    guest
    0 Comments
    oldest
    newest most voted
    Inline Feedbacks
    View all comments

    Top Discussions

    - Advertisement -Newspaper WordPress Theme
    0
    Would love your thoughts, please comment.x
    ()
    x