Kawasaki has already proven its prowess in the sports bike segment industry with great models such as the Ninja H2R and Ninja H2, which you need to lean upon.Â
However, more is needed for the bike maker as patents surfaced at the end of 2019 showing images of what would be Kawasaki’s most experimental motorcycle to date.Â
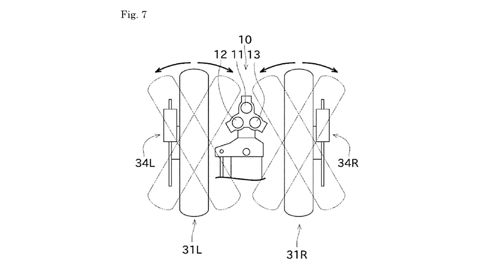
Leaning three wheel
The leaning three-wheeler is purposed to have a heavier weight distribution than a standard two-wheeled vehicle, giving the bike a better handling balance.
In the day, Kawasaki was doing serious research and development into a three-wheeled vehicle platform. That’s right, a three-wheeled vehicle. Never one to shy away from innovative concepts.

Produced for the Japanese market, the concept is a three-wheeler less controversial than the Sierras. The idea of a three-wheeler on Kawasaki’s part was indeed unconventional and, at the time, instead of forward thinking.
Over the past four years, Kawasaki said they’ve been working on making a leaning three-wheeler tech a reality. The concept came along, but the engineers at Team Green continued working on their original design. Kawasaki applied for patents with the US, Japanese and European offices.
A patent in US applied says.
A leaning vehicle includes a vehicle body, a left front wheel, a right front wheel, a steering rod, suspension, a first steering part, a second steering part, and a pantograph mechanism. The first steering part is disposed of the vehicle body side concerning the suspension and transmits rotational steering force by a driver.Â
The second steering part is disposed of the front wheel side concerning the rest and transmits the rotational steering force to the steering rod. The pantograph mechanism is disposed separately from the suspension, transmits the rotational steering force from the first to the second, and maintains the state of transmission of the rotational steering force by deforming the following changes in relative positions of the first steering part and the second steering part.

Given Kawasaki’s patent application’s short and condensed nature, it’s hard to say whether the company will move beyond an exploratory stage with this three-wheel concept.Â
This is merely a peek inside the engine, but so many more gears still need to be checked before this machine gets released from the production line.





