News of Suzuki’s turbocharger project came last in 2013. However, Suzuki has kept mum about their project since then.
- Suzuki reveals more on its 2021 Hayabusa
- Triumph unveils new 2021 Street Twin
- Triumph India unveiled its new Bonneville Street Twin
Turbo project
By the way, turbo-related patents are regularly filed for recursion engines, and Suzuki has already applied for a mysterious V-Twin Turbo patent. Suzuki displayed a 588cc SOHC twin at the Tokyo Motor Show.
Which made sure Suzuki is near to the completion of their Turbo project.
However further this also relates to the powerful motor, which Suzuki is developing in mid-range.
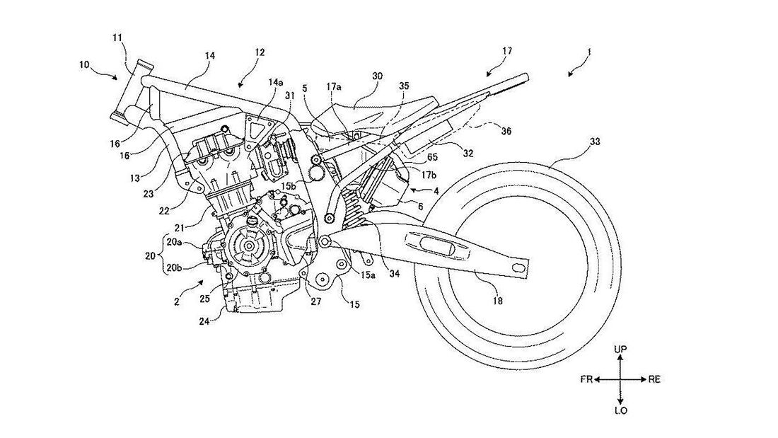
The new patent shows mass balancing, construction of the frame as well as misalignment in crank pin.
We do see the frame which joins the two-cylinder in a load-bearing fashion.

SV 650
Further, we see the image of motor, which comes as naturally aspirated, which Suzuki may plan to push in their new Suzuki SV 650.
The drawing images also show the seat, fuel tank, and tubular subframe, which joins with the motor’s load-bearing part.Â
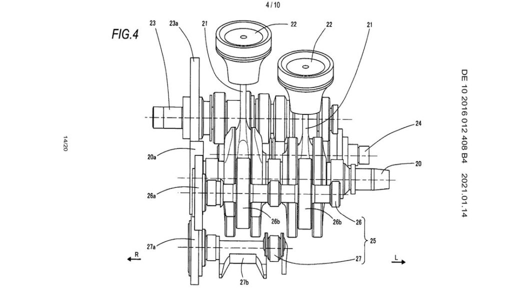
Suzuki has also filed for a patent, and it shows two balancer shafts, and they arrive from the crankshaft. The crankshaft is condensed and saves much space.
One balancer shaft located at the front of the crankshaft and the other below the crankshaft.
180-degree twin
These balancer shafts will help Suzuki to implement the 180-degree twin.Â
Further, we also see the new images shows Suzuki also has a different plan to place the twin with the crank at 90 degrees.
It shows Suzuki will compete with BMW, Triumph, Kawasaki and many more in terms of the twins and features, sound and performance it may provide.
The tubular steel subframe will help to contain this twin, as shown in images which also gets the robust aluminium construction for the motor plus the swing arm bearings.

90-degree twin
Further lower balancer shaft is attached to the side stand, and this again shows Suzuki will use the crankpin of 90 degrees.
In a good way, the oil sump and the lower balancer shafts cannot splash the oil, and this doesnt allow the air to arrive in the lubrication process.
The pistons direct air pressure to form small waves on the oil’s surface, becoming air bubbles.
One of the drives located on the balance shafts prevents the oil from splashing on the side stand.

The drawings talk about only SV650 Suzuki may very well use the new parallel-twin its V- Strom 650, its most acclaimed adventure tourer, V-Storm 700 and SV 700.

Suzuki may well plan to unveil the SV650, which obeys the Euro 5 emission norms.
As far as the Turbo project is concerned, it may take a while.












