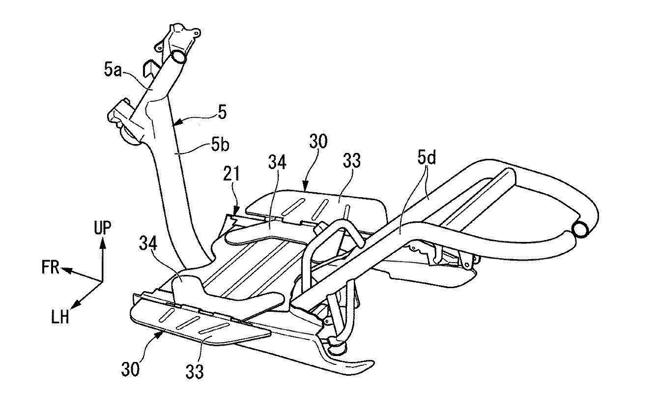
Honda has filed this patent back in October 19, 2018 and this is Activa’s patent that is lower displacement scooter.The patent is to increase the floor space.

The idea is to also make the space for any package that is little bulky and at present there is no function that could support this idea.
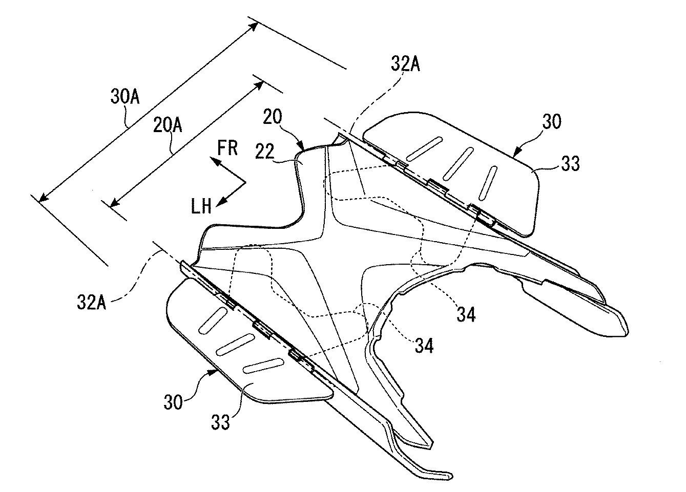
No 34 is line again is still unknown but i could figure out that it is a step expansion and could be attached to floor mat No 35 that is not shown here in figure.The line is broken because it is hidden by No 35.
For Hinge section Stopper No 41 again not in figure will be used as a stopper on the vehicle to stop the hinges so that they dont move while riding the scooter.

Source : Google Patents







