BMW files patent to create a supercharger similar to Kawasaki H2. This bike will be based on S1000RR and the supercharger will be electric.
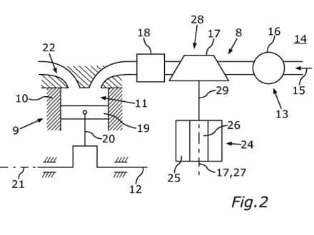
A new patent shows the compressor (28), driven by an electric motor (24), pushing air into the combustion chamber (11) via an intercooler (18).
There are two main reasons as to why this technology is effective.
- The patent talks about the traditional way to avoid high revs and get more power from a small size engine. As these high revs are a threat to emission.
- Another thing is like a normal engine supercharger that obstructs the exhaust system the electric turbocharger won’t create that obstruction.
Below is a patent diagram that talks about a new supercharger from BMW.
How soon BMW will develop this turbocharger is still a question as the talks of developing electric supercharger by other manufacturers are not new.
Source : Bennetts







