Technologies once confined to science fiction are making their way into real-world products from major manufacturers and boutique shops. It’s a strange time for consumers these days, in my opinion. We have more choices than ever, but it also seems more complicated to buy something that doesn’t have a “beta” tag somewhere on the box.
Patents
However, getting to the point, Honda filed a series of patent applications with the German patent office detailing a radar-adaptive cruise control system that could dynamically alter speed based on not only throttle position and road topography but also the number of riders on board. The system is intended for motorcycles, potentially falling into its Gold Wing category.

This is a big deal. Consider how much easier it is to ride a scooter or small motorcycle than it is to ride a Gold Wing or other big touring bike. My point: what Honda has done could be applied to smaller, lighter vehicles with less power (and thus less capability like scooters, electric bicycles, and motorcycles) than the Gold Wing. It is good news, as the problems these applications describe are universal across the transportation spectrum.
ARAS
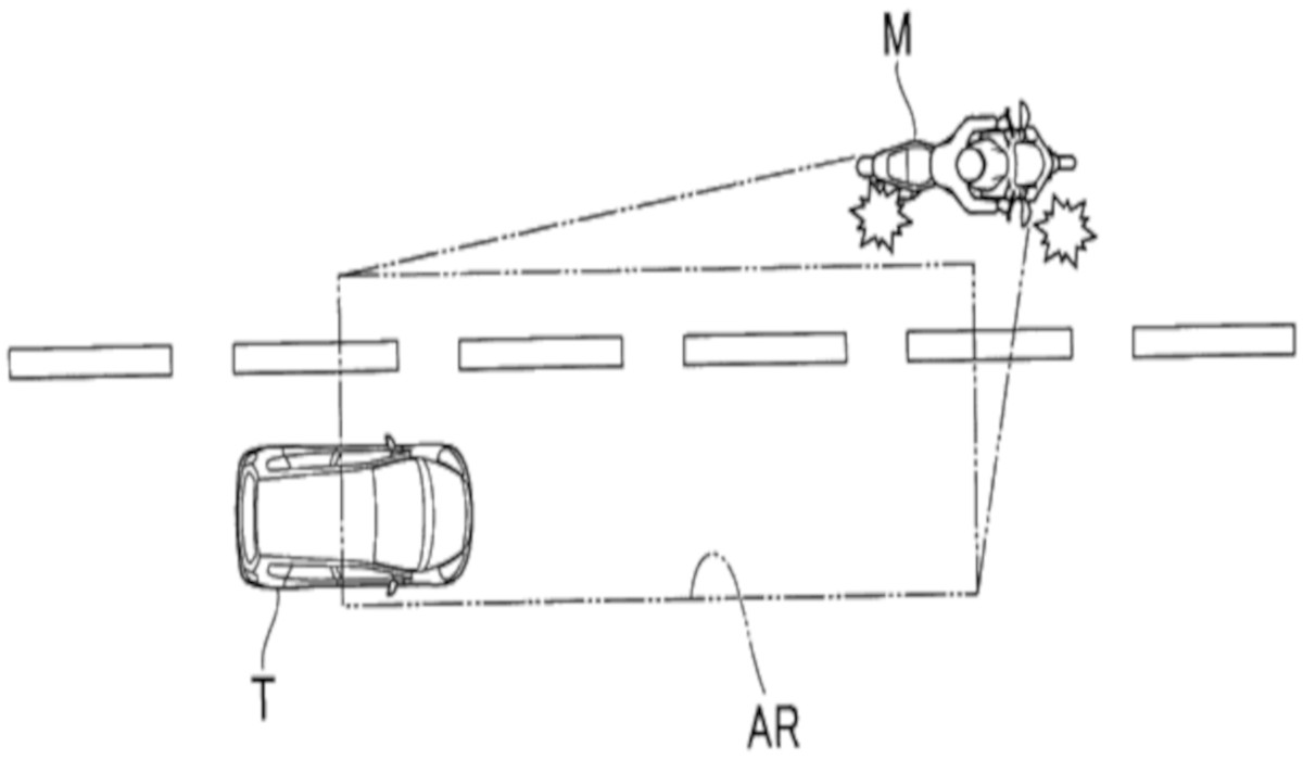
Honda filed patents for their own advanced rider assist system (ARAS,) which allows motorcycles (more specifically the motorcycle) to perform several functions and combines no of tech and components like camera, sensors, LIDAR and radar). We also see radar adaptive cruise control supported by blind-spot detection.

It’s also possible that Honda has a lane-keeping assistance system in mind and what it calls “tumble suppression assistance torque” for stopping any shimmy afterwards.
Honda’s continuously working with the idea of self-balancing two-wheeled vehicles. Lately, it has filed a few patents addressing how a rider can use another device in conjunction with this. I would go as far as to suggest that something might soon be brewing at Honda HQ.
Strong mitigation system
We could also see more in the patent drawing about the blind spot, three-lane departure warning, and collision mitigation brakes, a part of the ARAS system.

The lane departure is nothing but a warning passed on to the rider with calibrated vibrations. On the other hand, the blind spot information may use flags seen in rearview mirrors to warn the riders.
Honda’s been one of the most innovative auto companies in recent memory, and they’ve proven they aren’t afraid to go out on a limb to push the boundaries of transportation technology.
Today’s patent filing regarding their efforts with multiple rider assistance systems is interesting. And all is to reduce human fatalities by 2050, which Honda had proposed in 2021. How will this will come up is something we need to see.





