With each day passing, we see smart patents filed by each manufacturer, and BMW doesn’t want to stay behind.
Now they have filed another intelligent, and this seems to be more innovative.
How does it work?
In a standard way to charge the electric cars of bikes, a person gets down from the car/motorcycle plugs the charger to the socket on the car/motorcycle to charge.
How about a person not getting down from the car/motorcycle to charge.
However, from the patent filed, we do see that BMW is already working to bring a simple solution.
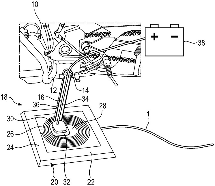
Let’s take a look at the patent. If one carefully looks at the patent, there is a side stand provided to the electric vehicle.
Whenever anyone plans to park the electric motorcycle, the stand placed on the square shape pad helps the bike to charge.
The square shape pad has the AC coil. That effectively allows the flow of electric energy from the pad to the motorcycle.
We are not sure as to how much does it take to charge.
There are various motorcycles like LiveWire from Harley and Evoke that are capable of charging in less than an hour.
While Evoke says, they can do it in 15 minutes. It is interesting to see how BMW takes up this challenge to charge the car/motorcycle in a very less amount of time.
LivingWithGravitys Take
What do we like?
- Innovation is intelligently capable of saving the last step of a person to get down and charge.
- From the patent drawing, we could also see that the size of the square pad via which the electric motorcycle is to charge is small.
What don’t we like?
- Although this patent is innovative and smart, the square pad via which the electric motorcycle is to charge has the wire connected (1 in the diagram) to it. So it’s not entirely wireless in a way it does require a socket.
We feel why can’t the square pad be wireless, thus saving the hassle of wire and the pad and it becomes more accessible for anyone to carry and charge at will.
Do let us know your thoughts?
Source : Bennetts
BMW’s new way replaces the traditional way
DNA Concept by Audi
Yamaha and Marvel collaborate to form lethal combination





