The emergence of aerodynamic winglets on MotoGP and Superbikes has sparked a debate regarding their value in spectacle and racing research and development. Despite the mixed opinions, winglets are becoming more prevalent in the motorcycle industry, even on street bikes. BMW has recognized this trend and filed a patent for illuminated winglets to enhance their functionality on the road while offsetting the added weight and cost.
Biplane Wings
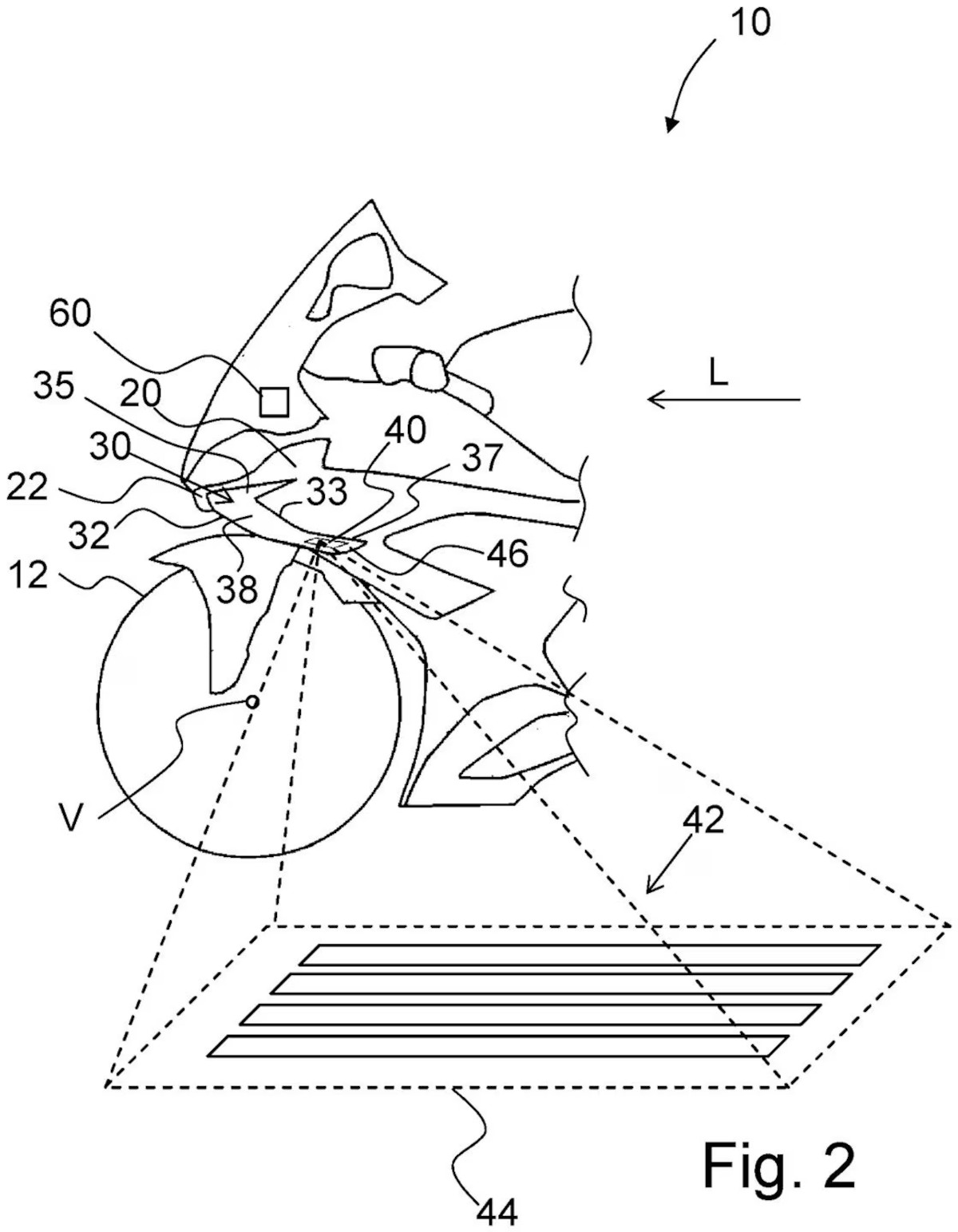
BMW’s M 1000 RR and S 1000 RR models already feature large biplane wings on the fairing sides, and the new patent builds upon these designs. The innovation involves embedding slim, horseshoe-shaped LED strips into the leading edges of the winglets, serving as both daytime running lights and turn signals.
The concept seems simple yet ingenious. Instead of adding separate turn signals on the sides of the bike, which would increase weight and cost, the winglets themselves are utilized. The LED strips are lightweight, and their positioning in the winglets, albeit minimally, enhances weight distribution.

Speed
The illuminated winglets offer several advantages. The daytime running lights (DRLs) and turn signals occupy separate spaces, with the DRLs providing increased visibility and making the motorcycle appear wider to oncoming traffic. This improved visibility, particularly in the dark, aids in estimating the motorcycle’s speed and enhances safety.
Additionally, the patent suggests the inclusion of puddle lights mounted on the lower surface of the winglets. These lights project a beam of light onto the ground, similar to car puddle lights. This feature provides better illumination when parking and can aid in assessing the surface condition before placing the side stand.
Aerodynamic
The lighting enhancements proposed in BMW’s patent could be more beneficial to most riders than the original aerodynamic purpose of the winglets. The combination of DRLs, turn signals, and puddle lights adds practicality, safety, and aesthetic appeal to motorcycles.

Pros:
- Enhanced visibility: The illuminated winglets, functioning as both DRLs and turn signals, improve the motorcycle’s visibility to other road users, especially in low-light conditions. This can contribute to increased safety on the road.
- Improved estimation of speed: The wider appearance created by the DRLs positioned in the winglets allows oncoming traffic to estimate the motorcycle’s speed more quickly. This can help prevent potential accidents caused by misjudging the motorcycle’s approach speed.
- Weight and cost offset: By utilizing the existing winglets for lighting purposes, BMW can eliminate the need for additional turn signal components, reducing both weight and cost in the motorcycle’s construction.
- Aesthetic appeal: Integrating illuminated winglets adds a unique and visually appealing feature to the motorcycle’s design, enhancing its overall aesthetics.
- Puddle lights for improved visibility: Including puddle lights in the lower surface of the winglets provides better illumination of the ground when parking, allowing riders to assess the surface conditions and potentially avoid hazards.
Cons:
- Limited effectiveness on the street: The aerodynamic benefits of winglets, including downforce generation and improved cornering stability, are more relevant on the track than on public roads. Therefore, the primary purpose of the illuminated winglets may not be fully utilized during street riding.
- Potential distraction: Depending on the placement and brightness of the illuminated winglets, they could become distracting to both the rider and other road users, mainly if they are overly bright or have complex lighting patterns.
- Reliance on electrical systems: The illuminated winglets require electrical power, adding complexity and potential maintenance concerns. Electrical failures or malfunctions could affect the functionality of the lighting system.
- Increased vulnerability to damage: Winglets, by their nature, protrude from the motorcycle’s bodywork, making them more susceptible to wear in the event of a fall or collision. Any damage to the winglets could compromise the functionality of the lighting system and require repairs or replacements.
- Potential regulatory constraints: Illuminated winglets may be subject to specific regulations or restrictions in different jurisdictions. Compliance with these regulations could affect the design and implementation of the lighting system.
Conclusion
As proposed by BMW’s patent, introducing illuminated winglets on motorcycles brings advantages and considerations. Integrating daytime running lights and turn signals into the winglets offer increased visibility and safety, allowing for better estimation of the motorcycle’s speed and enhancing its presence on the road. Eliminating separate turn signal components reduces weight and cost while including puddle lights provides improved ground illumination during parking.
Distraction
However, the effectiveness of winglets, including their aerodynamic benefits, may be limited on public roads compared to the track. There is a potential for distractions caused by the illuminated winglets, and their protruding position makes them more vulnerable to damage in the event of a fall or collision. Furthermore, reliance on electrical systems and potential regulatory constraints may pose additional challenges.
Overall, illuminated winglets offer motorcycle riders practicality, safety, and aesthetic appeal. While there are some considerations to be aware of, the innovation has the potential to enhance the riding experience and contribute to the ongoing development of motorcycle design.





