Its been five years Honda has displayed the electric Super Cub concept, and the patent was filed in 2016. However, the same patent is now published.

Although the patent was filed with the US Patent Office, however, we don’t see the patent about the electric Super Cub, but we do see the drawings of its battery compartment.
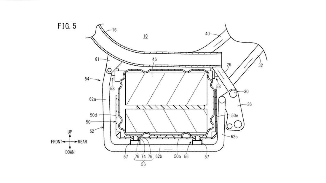
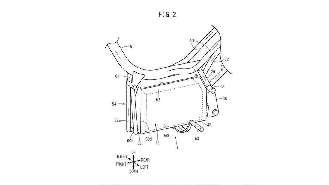
The removable battery is placed right in the frame and to make the charging easier the tilting mechanism allows the battery to be removed.

The battery case is compact and can be tilted forward and then opened.
To battery is well supported by the case and allows the battery to insert at the right place.

As said the Super Cub concept was presented by Honda in 2015 at the Tokyo Motor Show.
Time will tell when Honda will bring this in the market. However, we feel this is the right time for small size electric Super Cub to bring in the market.

Â
There are other renderings by designers who have designed the Super Cub and one among them is Kentauros design. Although we don’t see it is electric but we could see something like this.
Kentauros design of Super Cub
LivingWithGravity’s Take
Suppose Honda brings the electric Super Club and positions it right in terms of price and lineup. Probably it will be one of the biggest hits we could see.
Read More
Will Falcon 1400 replace the current Hayabusa
David Tyer’s Art
How to remove and replace the single swing arm of the rear wheel of F3Â
Yamaha’s geeky 2019 R25
Â





