This patent is filed in January 2018.It is a detachable seat cushion, and provides a vehicle seat structure that can be adjusted for cushioning and sliding between the cushion and the bottom plate.
Although there are several patents and this seem to be latest patent as the frame as changed.

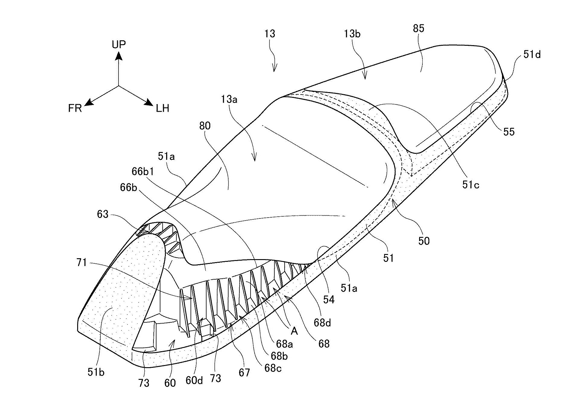
The cushions 80 to 82 and 85 are provided on the upper part of the seat bottom plate 60 in a side view of the vehicle, and spacers 90 and 95 are provided between the cushions 80 to 82 and 85 and the seat bottom plate 60.Â
The vehicle seat structure according to the present invention includes a cushion and a cover that covers the cushion, the cushion is made of resin, the cover is detachably provided on the cushion, and the cushion is disposed on the side of the vehicle.
The spacer is provided on the upper part of the seat bottom plate, and the spacer is provided between the cushion and the seat bottom plate.According to this configuration, the cushioning property can be adjusted by providing the spacer, so that the rider’s ride comfort can be made to the rider’s characteristics. Can be matched. “






