Lights are one of the most crucial components we see in two-wheelers.
And on these motorcycles lights come in various shapes and sizes on the front to help the rider to see in the dark.
- Remy Gardner takes the pole at Portimao.
- CFMoto MT800 patent designs
- BMW Motorrad’s electric ‘ CE04.’
- Honda to bring the radar mechanism in the Goldwing
At the rear, we do see tail lights which is nothing but an indicator that there is a vehicle ahead.
And then there are front and rear blinkers. And they help the rider to indicate in which direction he wants to take the motorcycle or a scooter.

These indicators play a pivotal role to indicate the other surrounding vehicles in which direction the motorcycle is going.
The bottom line the lights on the motorcycles or scooters do play a significant role in avoiding accidents.
Their job is to illuminate and keep the rider and other surrounding vehicles sage.

Problem Statement
However, in top motorcycles or scooters, we don’t see the lights on the lower surface area.
Piaggio goes one step ahead to solve this problem by having the lights at the lower surface are of scooters or motorcycles.

The lights present at the lower surface area will help solve the problem of parking at night and provide better visibility to the rider.
Further, these lights will help the rider whenever there are slippery or rainy conditions.
And this is the main reason why we see Piaggio has applied for the patent, which is ‘ Curiosity ‘ patent.
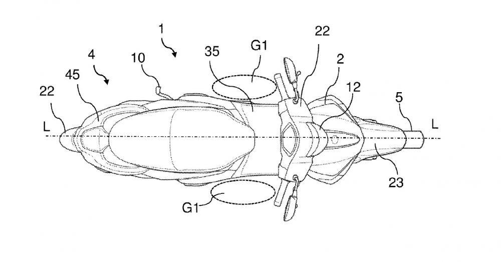
Curiosity patent
The patent talks about the device which is present in the drawings. Which illuminates the lower surface area of scooter or a motorcycle.
Further, it will help the rider to see the ground below the surface area if he needs to park the vehicle.
Another light we could see is present near the stand. And it helps to park the vehicle in dark conditions ( 5 and 10 marked in the diagram).

There is also the presence of an automatic mechanism. And it activates the light when the motorcycle speed falls below 5 to 10 km/hr.
The remote control also activates the auxiliary lights can be turn off after defined time.
We believe safety is a must. And the patent will be of great help if Piaggio brings something similar in their upcoming vehicles.





