The US bike producer Indian has patent security in place for model names. Raven, Renegade and Challenger have been enrolled as trademarks, notwithstanding for use on new models. Up until now, the theory on subordinates of the new FTR 1200 out.
Presently, in any case, an Indian Erlkönig was gotten in the US, which leads a totally new way. The Erlkönig pictures that surfaced on the internet have clearly immediately vanished at the request of Indian, however by and by, a ton can be found from this. In plain view was a Touring cruiser with casing mounted half-shell cladding in the style of a Harley-Davidson Road Glide.
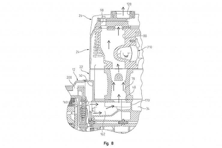
The genuine sledge, in the most genuine feeling of the word, sits further down in the casing. Here was an obviously fluid cooled V2 with most likely 60 degrees barrel point to see, which was recently introduced in some other Indian model. Further to envision were barrel heads, each with an overhead camshaft and four-valve innovation.
US media need to have gained from sources at Indian, that the new motor to a relocation of 108 cubic inch – re-determined about 1.77 liters of uprooting – sets and produces 120 hp.
Another reasonable indication of the new motor may apply for a patent use of Polaris (Indian parent organization) for Indian from March 2019. The patent is about a water-cooled V2 motor, which was initially intended for the sister brand Victory as Victory Freedom V2, yet outwardly fits precisely to the got model.
The third unequivocal hint is an item timetable that has now surfaced on the web, which obviously incorporates an Indian Raptor – the previously mentioned found visiting model – for the 2020 model year, wearing only those new V2.
Likewise recorded in the item timetable are new FTR 1200 models. So in 2019 an Apollo Tracker, 2020 a FTR 1200 Street and 2021 an Adventure come. From the scout bzudem is as yet a MiniBall form in the timetable.
The new V2 is self-evident, all the huge Indian models are driven by an air-cooled V2, which gets just 87 hp from 1,811 cc in Euro 4 tuning. With the forthcoming Euro 5 standard, the current V2 should achieve its total breaking points.


















