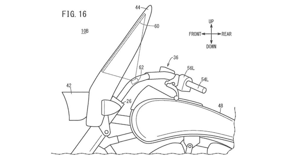
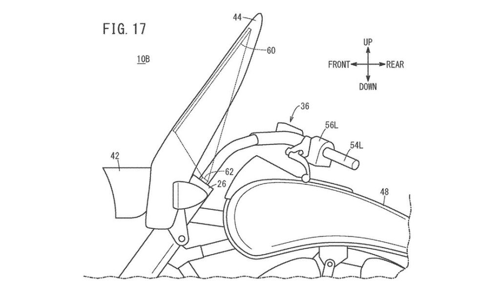
Honda has filed a patent related to display that is integrated with the motorcycle.Day by day the data to riders when they see the speedo of motorcycles is getting overload simple example would be like speed, rpm, fuel indicators and many more.
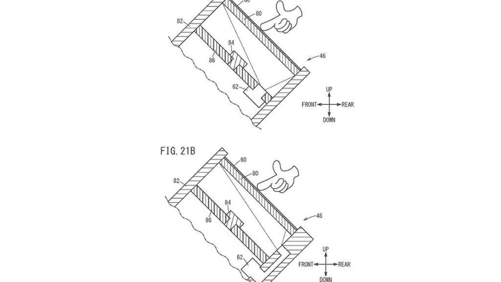
To make it more easier for any rider Honda has patented the projection surface that can be used as touch screen.
This system will be available for almost all types of motorcycles.
The only thing required as an prerequisite is projection surface. This projection surface will come with a surface that is similar to touch screen and can be used via gloved fingers.






















