News of Kawasaki building a electric motorcycle is not new.Since 2011 there were rumors that Kawasaki will enter the electric space.As the electric market is going to be dominant in future and is is projected to reach $13,864.0 million by 2025, according to P&S Intelligence .
Below are few interesting conversations where one can think that something related to electric is cooking in Kawasaki.
Earlier Conversation on November 16
“It seems that I am developing an electric motorcycle (example Mr. J) more than that.The detailed information is unknown, but since the conference about development is really being done with the person information in the middle (because it is in the concept stage or the concept stage An official meeting of things is not done easily)”
Conversation on 22 JanuaryÂ
KAWASAKI has a motorized two-wheeled plan with a target for 2020. It is terrible to spend a lot of development cost, Kawasaki was selling the two wheels there?
This is the same person who had made both the comments and it could well imply that we could see Kawasaki coming up with electric motorcycle in 2020 or later. Well here are some facts on why this could prove to be true.
Patent application in Dec 2011

Well if you observe in the above diagram in Fig 1 you will see the charging terminal is located above tank.
Above figure 4 is is patent of charging system. 31c is the female of the charging terminal.
Application filed in December 2012
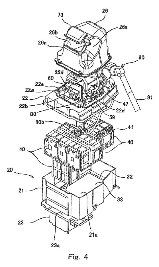
Somewhat different, but roughly the same figure. 20 is a battery case, 40 is a battery, 46 is an electrical equipment, 43 is a transmission, and 42 is an electric motor. 44a is an oil pan.Â
Based on design similar to Ninja 250 if you observe the power supply unit on the left hand have an functionality to slide.Well it could also mean that this power supply unit will be able to slid ,charge it and then slide it again back.
Application filed in July 2013
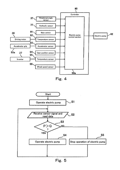
Cooling system patent Electric pump supplies coolant, but it is system.
Application filed in December 2014
Could this be concept J?
Well the above patents may lead to something or the other.But i expect that Kawasaki will definitely come up with electric motorcycle soon.
Associated patent details “An electric motorcycle comprises a motor case which is provided at a rear portion of a vehicle body frame; a swing arm which is pivot-ably coupled at its front end portion to the rear portion of the vehicle body frame; and a rear suspension coupled to the vehicle body frame and the swing arm. The lower end portion of the rear suspension is located below the swing arm, and the rear suspension extends vertically in a location close to a pivot around which the swing arm is pivot-able.
Appl. No.: 14/369673
Filed: December 28, 2011
( Source : USPTO )
Other Reads
Is Tesla building Electric Motorcycle?
Kawasaki KX450 goes 3D
2019 Kawasaki W800
Pic Source : Kojenteki













