While the talk of Honda bringing new CBR 1000 RR in its aggressive new line up is something which is not new.Many web magazines have also come up with beautiful renderings of Honda’s new power horse.Also i had mentioned few days ago that it well get power of 210 hp which i got to know from the reliable source.
However here i am going to talk on patent filed by Honda back in Sept 2017.The patent is about its mirror.This mirror was comparative plus the figure of vehicle is same so i think this is the patent for mirror for this new innovation.

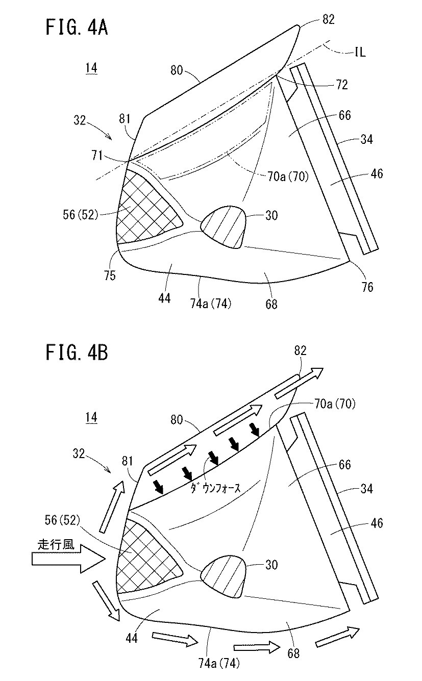
If you look closely in the above figure the vehicle 10 is provided with mirror 14. Now the rear confirmation mirror 14 is connected to 30 and 30 is connected to 40 to stay connected with the entire vehicle body and 30 is extended to 12 in the vehicle width direction and end of 30. The housing 30 is extended outward to 34 as seen in Fig 4A.
The housing 32 includes an upper wall 66 and a lower wall 68 at vertically overlapping positions of the vehicle body 12. The upper wall 66 in Fig 4B is in the vehicle width direction.
In the cross-sectional view orthogonal to, the upper outer surface portion 70 has a length in the front-rear direction shorter than the length in the front-rear direction of the lower outer surface portion 74 of the lower wall 68. ”
The lower outer surface has traveling wind flowing for long distance is fast and for upper outer surface is very slow.The upper outer surface is exposed to more pressure as compared to lower surface.So the saddle type can stably manage the down-force on he outer outer side far from its axle.
56 is the blinker.So it will be excited to see how Honda puts this technology in its upcoming model of CBR 1000 RR.

Source : Patents





