More

    More details on 2020 Honda CBR250R

    New CBR250R to arrive soon.

    Here are its patents 

    “In the turn indicator mounting structure for a saddle-ride type vehicle, the load when an external force applies to the turn indicator is reduced.

     The tilting range of the turn indicator gets widened, and the degree of freedom of the cowl shape becomes extensive.”

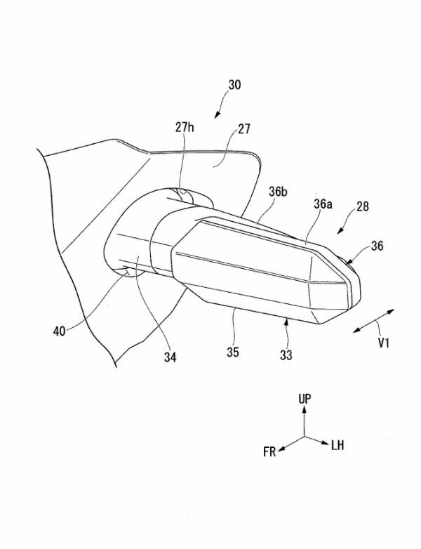
    “A direction including a cowl 27 that covers the body frame of the motorcycle from the side. 

    A lamp body 33 is provided outside the cowl 27, and a flexible supporting member 34 that supports the lamp body 33. 

    The lamp body 33 includes a lens 35 and a case 36 adjacent to each other. Cowl 27 comes with an opening 27h through which a support member 34 gets inserted. 

    A lens-side gap facing the lens 35 and a case-side gap facing case 36 comes between the cowl opening 27h.

    And the support member 34 through the cowl opening 27h and the lens 35 in a side view.

    The distance between the case-side gaps in the adjacent direction V1 of the case 36 is larger than the distance between the lens-side gaps in the adjacent direction V1. “

    It is a patent for the installation of the blinker.

    There are various advantages

    • Since the support member is attached to the body frame through the opening of the cowl. It is flexible even when the turn signal pushed up and down and back and forth.
    • The supporting member corresponds to the cowl (the periphery of the opening of the cowl). Cowl serves as a stopper, and the wobble of the turn signal can is suppressing.
    • The distance in the case-side gap and adjacent direction of the lens and case is larger than the distance of the lens-side gap in the adjacent direction. So that the support member bents with ease against a force from the lens side.
    •  Since the support member is attached to the vehicle body frame through the opening of the cowl, that’s the reason the tilting range of the indicator expands.
    • There is no need to provide a holding portion for the support member on the cowl so that the degree of freedom of the cowl shape increases. 
    • So it is possible to reduce the load when an external force, when applied to the direction indicator, widen the tilting range of the direction indicator, and increase the degree of freedom of the cowl shape. 
    • Since the attachment portion of the support member to the vehicle body frame is behind the opening of the cowl (inward in the vehicle width direction), it is difficult to see from the appearance.
    • The cowl and the direction indicator for a reason made to look more integrated, instead of the appearance of the direction indicator protruding from the cowl, and the external appearance is improved. “

    This area seems the central area. Blinker is attached to the body frame via the support member, so it is convenient in various ways. 

    Although there are such stays and support parts, we feel that the standard LED turn signal is frame-mounted rather than cowl mounted through that side. 

    By the way, this is an indicator of CB650R. It comes on the CBR250RR, CBR series, and many other Honda models. From small-displacement to large. This blinker is a diagram of a patent.

    The vehicle used CBR250R( SC59 ).

    Currently, production has ended and is not in the lineup.It sounds like CBR1000RR (SC59). We are sorry. 

    This diagram is of Honda CBR1000RR. Also, the above is CBR250R. But the CBR1000RR system is a blinker from SC59. 

    The same goes for the CBR1000RR-R. So it looks good as a patent for other CBR systems, not for CBR1000RR. 

    There are many camouflage plans for patents. But there is a tendency for some relevant models to be used. Is it for the new CBR250R or new CBR600RR?

    New full cowl model. In Thailand, there is CBR250RR, CBR300R, CBR150R, and CBR300R. But Indonesia has only CBR250RR and CBR150R. 

    The CBR250RR is revising to a new model in the 2020 model, but the new full cowl model above does not seem to be the CBR250RR. There is also CBR600RR. However, the CBR150R has just recently undergone a model change.

    The CBR150R was remodeled in the 2019 model, announced in October 2018.

    In other words, it was just a model change last year (more precisely, two years ago). So we don’t think it’s CBR150R.

    CBR250RR is perfect for model to change

    Honda often applies for a patent for that model before the model change. We have been checking patents for the past few years.

    We also observe the current model CB250R in Japan comes with the LED blinker. Like the same engine (although the setting is different), it is a rebel 250 with a different model, but the model is entirely changed.

    CB250R comes with all LEDs, a gear position indicator (not for the current rebel and CB250R), an assist & a slipper clutch. Announced in January and released in March. By the way, Honda plans to discontinue CRF250L and CRF250RAL, and the successor model may arrive later.

    Probably the firearms conform to the new regulation and EURO5. Then, in Japan, ABS mandates, changes in the standards for lighting equipment, and emissions regulations equivalent to EURO5 are arriving together pretty well. 

    Also, even in India, where CBR250R is sold, the emission regulations are supposed to change to BS6 (equivalent to EURO5) from April 2020. And it could be single cylinder.

    As mentioned above, is it a very convenient time to make a model change? And we do know everyone awaits this.

    We think the mysterious new model is CBR250R. We think it’s likely. 

    Equipment is likely to be used in the new 2020 model CBR250R

    Equipment likely to be adopted: grounds

    • LED headlight: Indian CBR250R, CB250R.
    • LED blinker: CB250R, patent.
    • EURO5-compliant engine: CRF250L / CRF250RALLY, regulations
    • Assist & slipper clutch: new rebel.
    • Gear position indicator: new rebel.

    This area will almost certainly be adopted. I think it’s very likely.All CBR250R engine models are not equipped with an assist & slipper clutch or gear position indicator until now.

    We don’t see any reason not to put them on because they do come in the new Rebel 250 of the same engine.

    LED blinkers and headlights are already in place for few small-displacement models.

    Current CBR250R base? CB250R base?

    So the mystery is what happens to the body.CBR250R and CB250R are entirely different from the frame. Link suspension and linkless.

    Although Japan doesn’t get CBR250R, it is the current model and may arrive in Japan.So it does seem that there is a possibility that the new model may use the current CBR250R body too. 

    The new generation CB system is like that. We think that Honda should use a CB250R frame as it is more attractive at a glance. It’s a lightweight, inverted, radial-mount caliper.

    Speaking of which, the CBR600RR is also undergoing a model change.

    Honda may also resurrect CBR600RR.The main thing is for the race version, so it’s SS600.

    Well, maybe it’s the new CBR600RR? Speaking of which, here is the rumor of the 2021 model. The 2021 model announced in 2020 seems likely.

    CBR600RR is not a blinker mirror for generations, and CBR600RR is closer to CBR1000RR.We are not sure. Well. But we think it was a small displacement.

    Although not finalized, CBR250R is likely to be back. Even so, the CBR600RR seems to be back.If it is a CBR250R, it is probably a global model, and it is highly likely that it may not arrive in Japan. 250cc.

    Another possibility is the new CBR600RR may arrive in Japan, but there is a possibility that it is only available for the track.

    It is still a mystery when Japan is going to get this model and whether the mysterious model is the new CBR250R in the first place.


    Source : Google Patents

    Read More

    Entire portfolio of GAS GAS, Husqvarna and KTM
    Katana becomes more cult by Katana 125R
    Suzuki to bring Euro 5 Hayabusa in 2021
    Do we see lower ADV from Yamaha?

    0 0 votes
    Article Rating

    Editor's Picks

    More article

    Subscribe
    Notify of
    guest
    0 Comments
    oldest
    newest most voted
    Inline Feedbacks
    View all comments

    Top Discussions

    - Advertisement -Newspaper WordPress Theme
    0
    Would love your thoughts, please comment.x
    ()
    x