More

    Let’s take a look at KTM’s semi-automatic gearbox

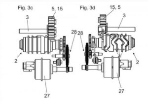
    KTM is working on a semi-automatic gearbox for their next generation of 1290-powered bikes. This system is designed to offer both fully autonomous shifting as well as manual shifting with rider input.

    DCT

    Unlike Honda’s Dual Clutch Transmission (DCT) system, which has been around for some time, KTM’s approach differs. The patent suggests that KTM’s system utilizes rocker arms, a centrifugal clutch, and a separate gear control unit to handle the gear-shifting process. Additionally, the system includes a feature that functions as a parking brake to prevent the bike from rolling on hills and potentially deter theft.

    KTM-Semi-Automatic-Gearbox-LWG-3

    The parking brake mechanism on the KTM system involves an L-shaped lever that physically locks the driven gears in place. This means the system cannot be deactivated unless the bike is switched on, potentially offering an extra defence against theft.

    To facilitate automatic gear shifting, a gearshift motor drives the shift cylinder, which, in turn, moves the gear selection forks into the appropriate position to engage the next gear. A centrifugal clutch enables the bike to start and stop without requiring manual clutch operation.

    Manual Shift

    While the details of how the rider can manually shift gears using this system are not explicitly outlined in the available information, it is mentioned that buttons on the handlebar, similar to those found in the Honda DCT system, could be used. 

    However, whether these buttons will be located near the left foot or operated by a conventional brake lever is not specified. The statement’s author suggests a preference for the traditional foot-operated gear lever for a more engaging riding experience.

    To achieve automatic gear shifting, a gearshift motor is employed to rotate the shift cylinder, which moves the gear selection forks into the necessary positions for engaging the next gear. The system also incorporates a centrifugal clutch, enabling the bike to start and stop without manual clutch operation.

    Source: Visordown

     

    0 0 votes
    Article Rating

    Editor's Picks

    More article

    Subscribe
    Notify of
    guest
    0 Comments
    oldest
    newest most voted
    Inline Feedbacks
    View all comments

    Top Discussions

    - Advertisement -Newspaper WordPress Theme
    0
    Would love your thoughts, please comment.x
    ()
    x