More

    Kymco patents Radar Sensor Technology for Future Motorcycles

    The prevalence of advanced driver assistance systems (ADAS) in both four-wheeled and two-wheeled vehicles is undeniable. Significant OEMs like Ducati, BMW, and Yamaha collaborate with established companies like Bosch and Continental to develop these systems. Not only are they working on the systems themselves, but they are also figuring out where to locate the components.

    Kymco

    Kymco, a major Taiwanese OEM, recently filed a patent application for a radar-related patent involving placing a rear-facing radar unit on several potential motorbike designs.

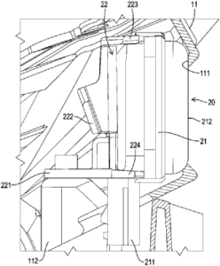
    The company’s stated purposes for placing the radar unit remain the same: to protect it from the weather and possible obstructions, such as rain, mud, and snow, and to deter potential thieves from stealing it quickly. Kymco has also depicted different tail and radar sensor configurations in its patent drawings, hinting at future motorbike models.

    kymco-radar-sensor-patent

    The patent

    The patent application shows several possible designs for mounting a rear-facing radar unit on a motorcycle, including a scooter, a café racer, and an adventure bike. The unit is designed to be protected from the weather and other elements, and Kymco is likely considering using radar technology to improve safety and performance on future bikes.

    Radar technology is already used on high-end motorcycles, such as the BMW R1250RT and the Ducati Multistrada V4S. These bikes use radar to provide adaptive cruise control, blind spot monitoring, and lane departure warning. Kymco’s patent application suggests that the company is interested in using radar technology to improve safety and performance in a broader range of motorcycles.

    It is still too early to say when or if Kymco will introduce a motorcycle with radar technology. However, the patent application suggests that the company is considering this possibility, and we may see radar-equipped motorcycles from Kymco and other manufacturers in the future.

    Here are some of the potential benefits of using radar technology on motorcycles:

    • Improved safety: It can help detect and avoid obstacles, such as other vehicles, pedestrians, and cyclists. This can help to reduce the risk of accidents.
    • Enhanced performance: Radar can provide features such as adaptive cruise control and blind spot monitoring. These features can help make riding more comfortable and less stressful.
    • Reduced emissions: It also can used to optimize the engine’s performance, which can help to reduce emissions.

    Conclusion

    The use of radar technology on motorcycles has the potential to improve safety, performance, and environmental impact. We will likely see more radar-equipped motorcycles in the future.

    While we can only speculate, one or both of these previously unseen tails may be part of an upcoming LiveWire, as Kymco has partnered with LiveWire to manufacture its eventual S3 lightweight electric motorbikes. However, this is purely speculation, and we have no evidence to confirm or deny this.

    The motorbike industry’s technological advancements are fascinating, and we look forward to seeing what new developments will come from these collaborations. Do you have any thoughts or speculations of your own? Please share with us in the comments.

    WIPO

    0 0 votes
    Article Rating

    Editor's Picks

    More article

    Subscribe
    Notify of
    guest
    0 Comments
    oldest
    newest most voted
    Inline Feedbacks
    View all comments

    Top Discussions

    - Advertisement -Newspaper WordPress Theme
    0
    Would love your thoughts, please comment.x
    ()
    x