There are many associate degree attempts to automatize the shifting method on two-wheelers.
The double-clutch transmission from Honda shines with a high level of acceptance, however, with increased weight.
- Triumph unveils 2021 Speed Triple RS 1200
- Honda recalls its newly launched H’ness CB350
- Benelli introduces the new Leoncino 500
- Kawasaki India to unveil two new motorcycles
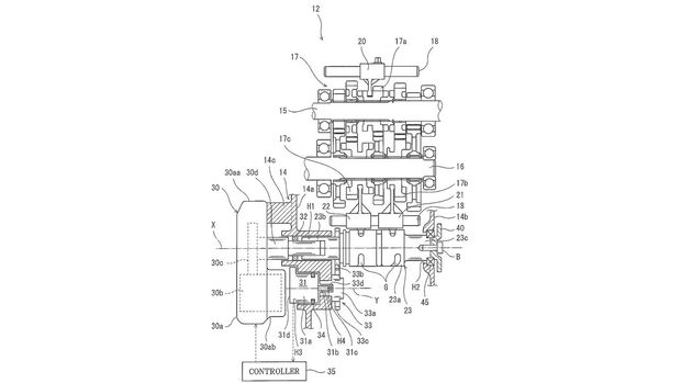
A Japanese patent shows a Kawasaki electronic shifting system supported a standard gearbox. And for Kawasaki covid doesn’t stop.

Thanks to their low change threshold. Trendy fast shifters already convey the sensation of a lot of or less automatic switching processes. The foot still has worked and continues to shift into gear.
Kawasaki patent now looks to perform on a system within shift pulse on the lever is regenerate into a sign. And the gear comes engaged by a servo motor or a magnet system.
Depending on the motorcycle’s speed, the clutch is either to boot disconnected or remains closed as usual.
Kawasaki patent
Kawasaki would conjointly prefer to have the hydraulic clutch mechanically disconnected once shifting gears at low speeds to avoid violent load changes.

At higher speeds, the system continues to solely separate ignition and injection. In principle, the system couldn’t only receive change impulses from the foot, however also from bar buttons.
Alternatively, from a minimum speed, a pc might also utterly take over the circuits.
That wouldn’t only increase the comfort on tours but even be a remarkable side for super athletes if the system comes connected to the opposite active driving safety systems.
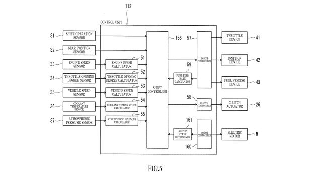
Kawasaki shows a remarkable side within the interaction of the change system in the same theme shows the mixing of an electrical motor, that points to the mild-hybrid study and corresponding patents from Kawasaki.

The interaction between motor {and the|and therefore the|and conjointly the} electric drive in the shift mode throughout healing by the electrical motor is of explicit interest.
Kawasaki is thinking of skyrocketing the ordinance for the quick shifter mode while not clutch and final drive not stall.
The standard construction of a traditional dog gear also permits the conclusion that Kawasaki might quickly incorporate the system into the prevailing model or perhaps provide it for retrofitting older models.
The development of Kawasaki in terms of semi-automatic looks comes optimized. The system is compact and may be quickly enforced in series.





