There is a patent for the Monkey 125, but the shape around the headlights is different.
Patents for Honda meter

It is a patent filed on October 26, 2017. Here again, the priority date is February 28, 2017.
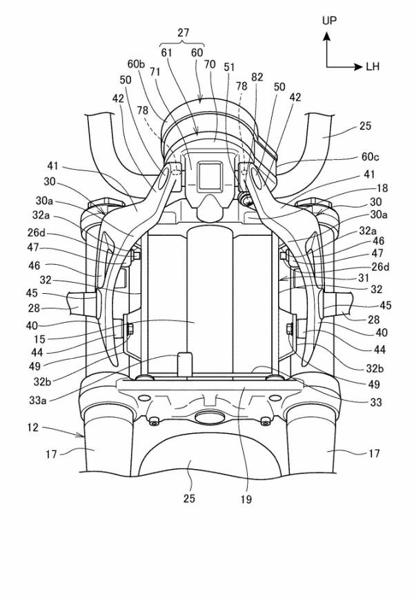
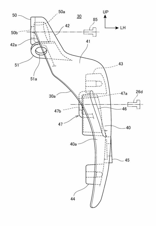
“In a meter mounting structure for a saddle-ride type vehicle in which left and right headlight brackets 30.30 supporting the headlights 26 is present and .
The meter 60 is supported by the headlight brackets 30, 30, a meter base 61 holding the meter 60 also is present. The headlight brackets 30, 30 are provided with headlight support portions 47.
47 that open laterally to support the headlight 26, and are provided above the headlight support portions 47.
47, and open laterally. Meter base fastening portions 50, 50 are provided, and the meter base 61 is laterally supported by fasteners . Inserted into the meter base fastening portions 50, 50. “
Is it a patent for the new Grom?
The vehicle illustration is based on the old Grom
The figure for the vehicle of this patent. As mentioned above, the patent figure is the same as the old Grom concerning the body. Only the headlight area is different.
Patented vehicle drawings are information about, or old vehicle drawings use, but in most cases, related models tend to use. Although it seems to be a patent for Grom series models.
Â
Similar to Monkey 125 but different
Are the patent figure, Monkey 125, meter, and blinker the same?Â
This patent is of Monkey 125. After all, blinkers and meters are the same. The headlights are different, but the LED unit seems to be the same.
The way of attaching the meter is different from the monkey 125 with this feeling .The headlight stay is different from the monkey 125. The monkey 125 is like this, but the figure of the patent is core. Yeah, something different.Â
Probably this is the same thing about the Monkey 125 meter; they roughly match the shape.

The filing date is the announcement date of Monkey 125
Patent about Monkey 125, but it is a re-list. The priority date is February 28, 2017, so is the application date February 28, 2017?
The international filing date is October 26.
Probably a patent for the new Grom
Unused ideas of Monkey 125
Filed eight months before the Monkey 125 was unveiled, so it seems likely that one of the proposed patents around the Monkey 125 headlights would be standard. A draft that was not adopted.
However, if so, I think that the patent of the adopted person is also applied. (although the patent is not applied if the existing technology is in use).
And the prototype that is present. The area around the headlights of this patent is not similar.
New Grom theory
Grom has been selling it in Europe under the name MSX125 since 2013.Honda sells these in regions such as Thailand and other Southeast Asian countries.Â
Currently, this new model or the current model has been released continuously since 2016.Â
In Europe and elsewhere, ABS is on. There’s a monkey 125, is it not ok to have the new Grom? However is quite a price difference between Grom and Monkey 125. 49,100 yen for Japan.
And Grom is a two-seater, but the Monkey 125 is a one-seater. Honda cares about that. The image of the type to fill the hole. In the first place, Grom is prevalent in Southeast Asia .
And we think it will almost always be a model change. Then, EURO5 is about to begin soon, or recently EURO5-compatible models have begun to be released .So we think that Grom os being remodeled to match EURO5.
Neo- Retro GROM
At present, there is a sense of the near future, including the face, including cyber, but the new model has a rounded face. So it may have a slightly rounded design as a whole even if it is not as much as Monkey 125. Neo-retro?
The housing is also different for headlights, but maybe the contents are the same? Â
We think that the meter and the blinkers are made into common parts, as shown in the patent, and therefore Honda achieves the cost reduction.Â
We think there are some patterns where Monkey 125 components are not in use, but we think it is a new Grom.
Perhaps about the 2021 model announced in 2020? Grom is a global model. Since the current is from 2016, it is just right for model change timing. (Old models are from 2013 to 2016).
Source : Google Patents
Aprilia brings sx 125 in Japan
2020 New Motorcycle launches
Honda unveils Blade 125 and Blade 150
Honda sells 60,000 units of Activa BS-VI variant in first six month








