More than a year has passed since we revealed Aprilia’s early designs for a three-wheeled motorcycle to rival Yamaha’s Niken. The new machine was to have a similar layout and single-sided cast alloy front end to Yamaha’s Niken. But with the innovative tilting suspension.
Aprilia’s early design gave us a good indication of where the designers were heading. But as you might expect, the finished images look quite different.
- Electric Trike ‘ Atheris ‘ concept
- Aprilia’s upcoming Tuareg 660
- 1995 Aprilia RS 250
- Aprilia new eSR2 electric scooter
Based on Mana
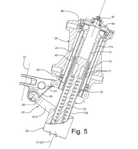
Visually it’s much slimmer.With the wishbone-style front suspension units replaced by something looks more like the Niken’s front end. Albeit with an unusual low-slung top yoke connects to a bobbed frame.
The twin wheels are linked using a parallelogram-style tilting linkage at the top.
Aprilia went for a pair of double-wishbone front suspension units. Aprilia believed it had designed something novel by incorporating both ideas.

It meant each wheel could tilt as well as move forwards and backwards though.While this might sound great in principle and seemed like an obvious idea.Like Aprilia’s thinking on the original Niken—it might be less successful in practice.
Niken’s design makes it difficult to change direction when cornering quickly.
The design retains the rear frame section, engine.And suspension of the 839 V Twin from Mana and has no change in the bodywork.

Teased images
When Aprilia initially teased pictures of a new prototype three-wheeler. They broadly assumed this represented the first unveiling of the company’s entry into the emerging low-speed single-track vehicle market.
However, the design of the original bike was primarily based on the frame and engine of the Aprilia Mana. And we know Mana is not in production.
However, we would like to explain a set of patents from Aprilia.
The new design retains elements of the MP3 platform. Particularly the parallelogram-style suspension layout Piaggio seems to be fighting (sometimes successfully) to protect in courts worldwide.
It’s also clearly used some inspiration from its current crop of superbikes.With the side profile drawing apparent comparisons with Niken.
The fact that it retains the exact single-sided swingarm pivot location from the machine means. The company can build it using existing manufacturing technology and components.
Another factor often rules out machines is their complex geometry means creating new ways to manufacture significant components. Or finding bespoke suppliers is hard.
Despite all this innovation.Aprilia claims much of the Tilting Trike will be familiar to those who ride motorcycles. Its riding position and controls mirror a conventional two-wheeler pretty closely.
However, unlike Gilera CX 125, the design doesnt host the single telescopic strut. But then we do see a patent similar to the Gilera CX 125.

Patents
Since its introduction in 1991. There’s no question the Gilera CX 125 was a revolutionary motorcycle with its partial hidden front wheel and high pegs. Making the bike easier to control in low-speed manoeuvres than most of its contemporaries.
Aprilia’s engineers knew the old Gilera system could not overcome the gyroscopic forces on a motorcycle travelling at speed. So they set about devising their solution.
They first test-fitted a sturdy rod joining the upper and lower sections of each front suspension strut.Which remains part of the finished design.

Aprilia engineers made the top of each strut to rotate through approximate degrees on a ball joint with a vertical axis.
The bike started with an Aprilia-built Mana 839cc V-twin engine.But the engine is no longer visible in most of the images recently revealed by the company.
As one of the images show a front sprocket cover similar to the one used in Aprilia’s Tuono 660 and RS 660. It could mean it has abandoned its 839cc V-twin from Mana. In favour of an engine from its Aprilia’s Tuono 660 and RS 660.
Development
While patents are nothing but sketches of an idea and offer no certainty Aprilia will implement this concept.Much less reach production. It is apparent from the documents Aprilia has filed in the past this was an idea that has been percolating at the company for some time.
If development has continued since then, it might not be too long before we get a glimpse at the fruits of Aprilia’s efforts.
via Cycleworld





