Will Honda Fire-blade get the Formula 1 pre-chamber ignition tech?
Honda has come with a pre-chamber ignition patent design which comes typically used in Formula 1 cars.
- Intrinsic Formula 1 liveries on MotoGP bikes
- When MotoGP meets Formula 1
- Tacita brings the electric Rally Racer
- The all new MV Agusta Brutale Serie Oro
The objective of the patent is to enhance combustion efficiency. We do see the involvement of two-stroke mechanism in it.
Since 2010 the Formula 1 rules were more aggressive. The Formula 1 car can stop for a tire change in pitstop. However, you cannot refuel the car.

So the Formula 1 car manufacturers had to develop some innovative solution to increase fuel efficiency.
And what better way than to have pre-chamber ignition a key.
Recently Maserati too applied the same F1 tech in there car MC20 to improve the combustion efficiency.
Well, Prechamber technology is nothing new, and Honda used this technology in the 1970s.
So how does the pre-chamber ignition work?
The engine revolves four times. Further, the piston draws the air via the valves present while the main injection is fueling.
The outcome arrives in the form of a thin mixture. If you compare it with the standard engine, the mixture will ignite itself, and the next step the engine will lit up.

When the piston movies upward for the compression and the same time when gasoline arrives in the pre-chamber. Now at this instance, the Honda patent plays the role.
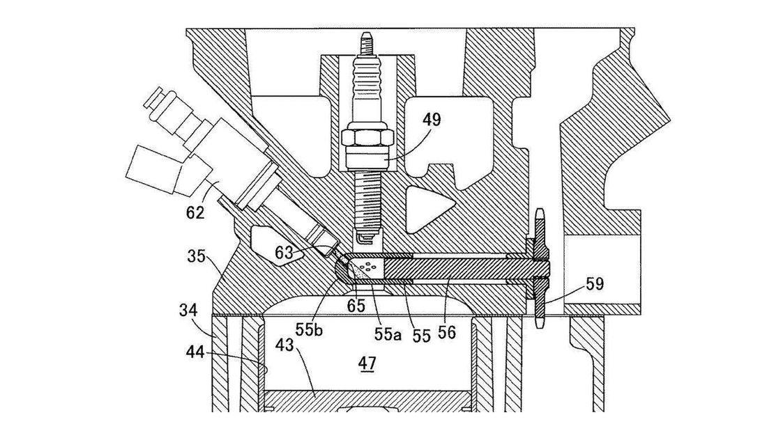
There is a pocket located in the cylinder head of the combustion chamber. And inside this pocket, we can see spark plug and the separate injection nozzle.
However, during the compression process, and spark plug ignition, a minimal opulent mixture comes created.
The thin mixture then gets ignited by this combustion, and this all happens inside the combustion chamber.
So the idea is this thin mixture gets ignited in a controlled fashion which uses the large flames of the pre-chamber combustion. Now, this cannot be done by a small spark.

In the absence of the antechamber, the thin mixture will burn close to the ignition spark. Therefore the spontaneous ignition cant be avoided within the different locations of the combustion chamber.
The main injection works as is and it resumes the intake manifold injection. You will be able to see this pre-chamber injection in between two inlet ports.
Why?
The idea here is to make air usage as much as possible rather than fuel. And this is what the thin mixture uses less gasoline, and it is a perfect mixture in the 14.7: 1 ratio.
But then it does have a disadvantage. Before the thin mixture reaches the top at high speeds, there is a possibility that the thin mixture will ignite itself.
Which results in an increased compression; therefore, a solution is essential, which allows burning the thin mixture before it ignites spontaneously.
So this solution will help motor for better mileage, and the engine won’t lit up in the fire.
Rotary Valve
So will Honda bring back the engine with a rotary valve?. So Honda plans to get a sleeve which will be rotated and comes located above the camshaft drive.
The sleeve will run at half of what engine runs. If you look at the patent, the antechamber has a mixture outlet which comes from the carburettor.
The no 64 is the central opening which is nothing but gets sudden involved with the main combustion chamber.

The fuel arrives through the different injector via opening no 65.No 52 are Bores which are the channels that overflow the thin mixture under compression in pre-ignition chamber.
Now no 54 is the main opening which faces the spark plug or combustion chamber. So it the compression cycle ignites the pre-chamber mixture.

No 52 are bores which act as channels for the thin mixture. Further compression stroke gets fule via no 65 (opening). In the process, the mixture in the pre-chamber gets ignited by the spark plug. The no 64 rotates in the direction towards the combustion chamber.
And that’s it the flame ignites the thing mixture just before the top.
No 85 crankshaft and No 87 chain driver both are responsible to time the camshafts and chain.
Camshafts through the no 95 intermediate gear drive the antechamber this drive is on the tension blade with the help of timing chain.
Standard engine design
However, the current patent talks about the standard piston engine, which has two overhead camshafts. Further, rocker arms are responsible for controlling the two spring-loaded valves.
Control chain drives it and is also responsible for controlling the antechamber. The valve seats get the antechamber openings with compact cylinder heads.
Now we are not sure how soon Honda will bring the technology in the bikes. But then whenever they get, it will prove a massive hit.





