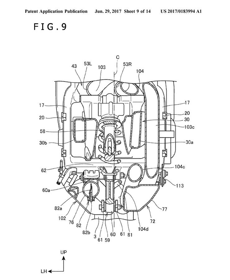
Few images of Honda’s patents for V4.




Motorcycle Customs by Nicola Martini
How motorcycle system achieves traction?
Know more about motorcycle rims
Source: Bikesocial
Few images of Honda’s patents for V4.




Motorcycle Customs by Nicola Martini
How motorcycle system achieves traction?
Know more about motorcycle rims
Source: Bikesocial