Honda’s Latest Drone TechnologyÂ
Honda made news when the company filed for a patent containing a drone at the bike’s rear end.Â
As per the information available from the filed patent, the motorcycle will release the drone on command. When the drone has finished its job, it will return to the bike.
- KTM teases the upcoming 2021 1290 Super ADV
- Harley to bring supercharger
- Triumph plans to bring new Scrambler.
- Top 13 features of the new 2021 Triumph Speedmaster

As there are multiple possibilities, we may get confused as to why such technology is required.
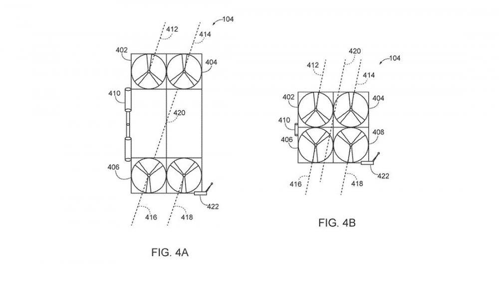
According to the filed patent, the bike comes mounted with a small drone in its tail box. To start, the box will open, and it allows the drone to fly, navigate and return to the motorcycle without any external help.

Many may wonder about this technology’s purpose, but one potential use can be the flying drone.
Can capture the road ahead of the rider, warning them about the conditions ahead like the obstacles, scout for traffic, or any other critical update.Â
What is astonishing to see is the drone’s self-reattachment to the box without any external.

At the moment, we are just talking about the patent. Honda is yet to reveal the further use of this drone.
When there is no usage of a drone, the tail box can accommodate a rack to strap on luggage, or otherwise, it may get closed.Â

In the vehicle’s parking position, the four-rotor drone acts as a device that helps eliminate hot air from the battery and engine.
To conclude, most bike enthusiasts are anxious and curious, waiting to see this new tech’s unveiling.
Â





