Alright, folks, gather ’round. We’ve all seen it—the relentless expansion of pickups. They’re like that one guy at the buffet who keeps piling on more, except in this case, the buffet is America, and the guy is Ram. Bigger trucks, more features, and now, more seats. So, what’s the latest scoop? Ram’s third-row jump seats! Yes, you heard that right. Let’s dive into this with all the enthusiasm of a kid on Christmas morning.
From Concept to (Maybe) Reality: Ram 1500 Revolution
Last year, Ram teased us with the 1500 Revolution Concept, and boy, did it get people talking. Now, they’ve gone and filed a patent for those snazzy third-row jump seats. But hold your horses—just because there’s a patent doesn’t mean these babies are hitting the production line tomorrow. It’s like that time you swore you’d start a diet on Monday. Intentions, right?
The Nitty-Gritty of Ram’s Jump Seats
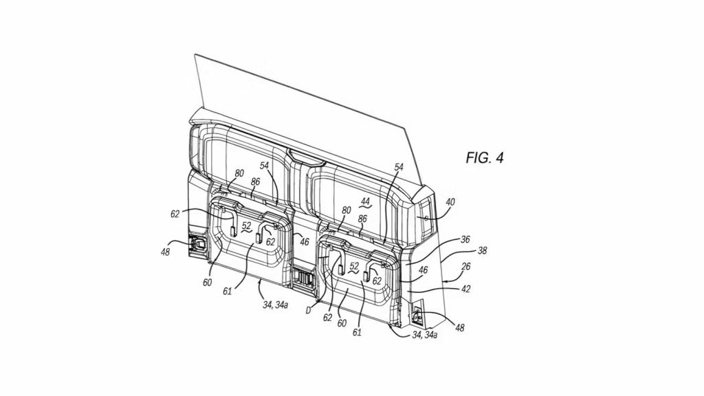
So, what’s the big deal about these seats? Picture this: you’re cruising down the highway, and suddenly you need more seats. Bam! These jump seats fold down from the back wall of the cab like a ninja’s hidden weapon. When you don’t need them, they tuck away, making room for all your other stuff—like grocery bags or your kid’s backpack that weighs as much as a small elephant.

Forward-Facing Seats: A Revolutionary (Kind of) Idea
Jump seats aren’t new. Your granddaddy’s old truck probably had some version of them. But these aren’t your granddaddy’s seats. They’re forward-facing! It’s like upgrading from dial-up internet to fiber optics. More room, more comfort—at least in theory. But here’s the kicker: fitting these seats means the cab needs to be bigger. So, we’re talking about possibly bringing the Mega Cab configuration to the Ram 1500. Mega Cab sounds like something straight out of a superhero comic, doesn’t it?
Practical or Impractical? You Decide
Let’s be real for a second. Will adults actually fit comfortably in these jump seats? Picture trying to squeeze into a pair of jeans from high school. Yeah, not happening. These seats might work for kids or that one friend who’s always the last to RSVP to the camping trip. But for full-grown adults? It’s a tight squeeze. Ram might be stretching things here—literally and figuratively.
Cool Features of the Ram 1500 Revolution Concept
Ram’s third-row jump seats aren’t the only cool thing about the Revolution Concept. Imagine having a pass-through frunk, midgate, and bed extender that lets you haul stuff up to 18 feet long. That’s right—no trailer needed. Home improvement projects just got a whole lot easier. You could practically fit a giraffe in there (not that you’d want to).
The Tailgate Party Upgrade
Here’s a fun twist: these jump seats are removable and can be used as chairs for your tailgate party. Just imagine, you’re at the game, and your truck turns into the ultimate party pad. Forget those flimsy folding chairs. You’ve got legit truck seats to sit on while you enjoy your hot dogs and beers. Talk about living the dream!
What Does This Mean for Pickup Lovers?
Alright, pickup lovers, let’s break it down. Ram’s third-row jump seats could change the game—if they actually make it to production. It’s a bold move that says, “Hey, we know you need more space and versatility, so here you go.” But until we see these in a dealership, it’s all speculation. Kind of like betting on your favorite sports team to win it all—possible, but not guaranteed.

The Bigger Picture: Trucks with Everything
The evolution of pickups is all about giving buyers everything they want. More seating, more cargo space, more features. It’s like automakers are saying, “Why not both?” when it comes to luxury and utility. And honestly, who can blame them? We want it all, and we want it now.
Wrapping It Up
So, there you have it—the lowdown on Ram’s third-row jump seats. It’s an exciting development that shows just how far trucks have come from being simple workhorses. Whether or not these seats make it to production, it’s clear that Ram is thinking outside the box (or the cab, in this case). And who knows? Maybe one day, we’ll all be riding around with third-row seats in our pickups, living our best, most spacious lives.
Until then, keep dreaming big and driving bigger, my friends. And remember, in the world of pickups, there’s always room for one more seat—or at least, there will be soon enough.
Read Also





