In 2020, Kawasaki sent out the Ninja ZX-25R, a completely newly designed 250cc 4-cylinder engine. And made the world aware of the strength of its planning and development capabilities.Â
The news on it became famous worldwide, and Kawasaki’s reputation as a maker of high-performance engines now takes a new level.
ZX-4R
Again now what do we see new from Kawasaki? We’re getting growing leaks that it’ll be a 400cc 4-cylinder engine. And we did say this at the end of 2020.
Now the rumours are hot about Kawasaki bringing the powerful ZX-4R with much vigour.
However, what is most important is that we had heard Kawasaki was also trying to bring the ZX-4R and then cancelled it.
Well, we feel all the goodies they wanted to stuff in ZX-4R are in ZX-25R, and we could see more powerful ZX-4R.
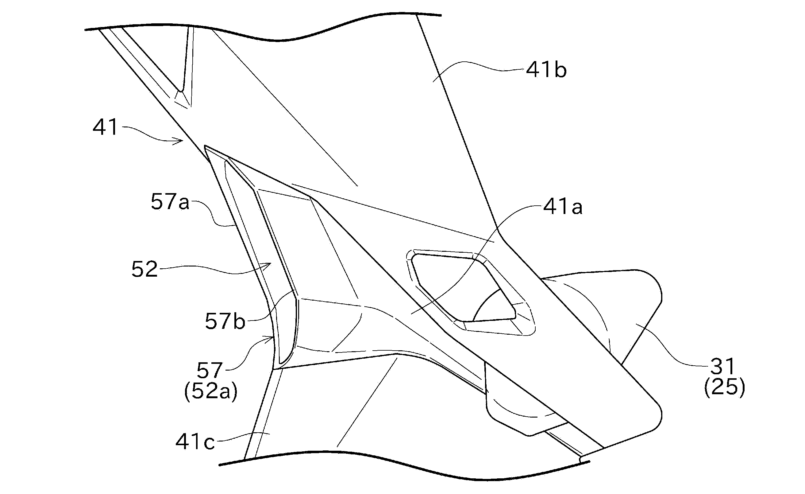
Here are few patent drawings of ZX-4R which will make the air clear.

The patent showed off an intriguing alternative to the current fairing designs on ZX-4R, with an integrated duct. The air from the vent injects into the air intake for enhanced cooling and power output.

Then there are patent drawings like above which show direct association with ZX-25R.

We don’t see 250cc being named anywhere in the patent, so we do see it was designed for 400cc and was flexible enough to get on ZX-25R.Â
So the trend we see in Kawasaki motorcycles going few years down the line will reflect. All the goodies of elder sports bikes like ZX-10 or ZX-10RR in younger siblings.
R
The keyword in the above statement is bold. The change in management and strategy are significant moves by Kawasaki Heavy Industries (KHI). To begin a substantial reformation of the motorcycle division from here on out.
The Z900RS, unveiled, was an exciting model that combined the lightweight Z900 with a cool power unit.Â
Instead of keeping the mass-customized machine to attract everyone. The Kawasaki engineers decided to create the evil bird “R” for riders who can appreciate the spirit of taking on challenges in front.
On the other hand, 650 has a global market, and in the future, ZX-4R can be neo-retro if sold as a retro-styling model.
In January 2020, we also said Kawasaki might bring the naked ZX-25R version without a fairing.
It is just a matter of time to see the Kawasaki ZX-4R in all flesh and blood. And then possibly a naked version.





