Kawasaki is working on a parallel hybrid motorcycle road, and last year we saw a hybrid patent from Kawasaki.
The latest patent we see is the integration of both standard motor as well as the electric motor.Â
Patents
Well, it is hard to read what Kawasaki is thinking. However, returning to the patent, we see both the electric motor and standard engine hooked by the drive train via a clutch.
The other good part at low speeds the rider can enable the electric motor, that acts as a booster to support the standard engine.

Again at high speeds, it gets disconnected. Push mode recovers the energy, and then the electric motor can act as the drive.
The patent shows a twin chassis motorcycle equipped with a parallel hybrid motor drive. However further to the patent Kawasaki no has unveiled the hybrid sports prototype.
Prototype
The Japanese company has not yet revealed the technical data of this prototype and neither the ability to reach the top speed.

Seemingly, Kawasaki will power the motorcycle with its parallel-twin engine powers and a 48V electric motor within an aluminium beam frame.
The two powerplants “will work together to improve local emissions and comply with ever-stricter environmental regulations”. Â
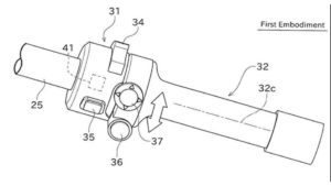
Another patent drawing shows a handlebar having switch and a button.
The button is responsible for enabling the electric boost. At the same time, the direction buttons are modes.

A small battery is adequate just in case the capacity of the electric motor is limited.
Furion Hybrid M1
While France based motorcycle manufacture, Furion has already brought an ambitious M1 hybrid motorcycle.
Limited to 3000 copies the M1 gets 120 hp conventional engine and 35KW (+ 45hp) electric motor. The motorcycle retails at € 30,000, tax included
Â
Rider Assistance with AI
Last year, on November 23rd we also saw a video showcased that takes Kawasaki’s ambition further. The video talks about some important information as well as there is the typical exhaust note to hear.
Further Kawasaki is also in the process to develop the artificial intelligence mechanism to track the location of the bike.
So gets automatically adjusted to its engine requirements.
However, by 2025, Kawaski wants to launch a sporty hybrid vehicle that can be used in various ways. Kawasaki’s goal is to develop a sporty hybrid vehicle that can be used in multiple ways.Â
Especially targeting users with a high-density lifestyle in cities and living in areas where the total number of vehicles is limited. The real question is, when will this concept be launched?





