More

    News : Honda Rebel 1000 cc patent and more

    Rumors about the Honda Rebel 1000cc has really begun since June a year ago, anticipated to be available toward the year end. Well that’s another thing that he wasn’t unveiled . All things said and done, in here i am not talking about when this motorbike will be unveiled, yet giving extra information.

    Ducati 2019 SBK livery

    If the Honda Rebel is 1000cc, rumor as well as it will without a doubt be available to supplement the Honda worldwide Moge variations, particularly in the Modern Classic Cruiser class, which is as of now increasingly in vogue.

    You can see the rendering picture of the Young Machine above, it would appear that the model truly reflects how the imminent 1000cc Honda Rebel will be, a representation as well as in light of the fact that they make it dependent on a patent picture that has been enrolled since May 2018, similar to this appearance:

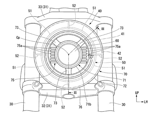
    Without a doubt, whenever saw initially there is no distinction between the picture of the Honda Rebel 1000 patent and the figure of the Honda Rebel 500, both the plan of the tank, the casing including the back body is extremely the equivalent, yet on the off chance that you see the crankcase turns to be unique. Yupz, in that image the crankcase of the motor is like the motor having a place with Honda Africa Twin, this way;

    The possibility for the 1000cc Honda Rebel will later utilize a 1000cc twin inline motor, otherwise known as a 2-cylinder motor in line that is probably going to be DCT innovation like Africa Twin, unquestionably a distinction with the Neo Sport Cafe Honda CB1000R which has a 4-chamber inline motor.

    Gracious indeed, other than the image of the full structure patent, things being what they are, there are likewise licenses in other detail parts one of which is the headlamp configuration, similar to this:

    Headlights will be trademark round light with LEDs. There is another new figure in the Rebel 1000 is on the speedometer panel, will be a square-shaped model or box like shape.

    Well we are just waiting for another year that when will Honda Rebel be unveiled .

    Benda Asura 400
    Viba Jane goes 3D


    Pic Source : Young Machines

    3 2 votes
    Article Rating

    Editor's Picks

    More article

    Subscribe
    Notify of
    guest
    0 Comments
    oldest
    newest most voted
    Inline Feedbacks
    View all comments

    Top Discussions

    - Advertisement -Newspaper WordPress Theme
    0
    Would love your thoughts, please comment.x
    ()
    x